Gripple Angel
Conceput pentru suspendare iluminat arhitectural, sisteme de iluminat, signalistică, panouri acustice și alte instalații în care estetica este importantă. Varietatea de kit-uri Angel permite o ajustabilitate și flexibilitate completă fără utilizarea unor instrumente suplimentare. Gama de modele Angel oferă un finisaj profesional și elegant pentru tine și clienții tăi, fără compromis în privința rezistenței și durabilității.
-
Simplu de utilizat, ajustare cu o singură mână
-
Design modern pentru întreaga gamă de suspendări
-
Gamă largă de terminații ale cablurilor ce permite montarea în suporturi diferite
-
Varietate de terminații ale lacătelor Angel pentru fixarea acestora în diferite puncte de fixare
-
Cablu cu diametru de 1,5 mm pentru o suspendare discretă
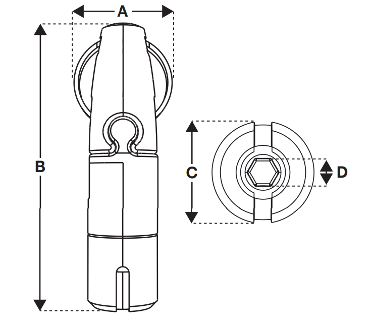
ANGEL

-
Reglare simplă, permite ajustarea cotei de montaj cu o singură mână
-
Design modern, complimentează perfect estetica suspendării
-
Are o gamă largă de terminații pentru realizarea suspendărilor în aproape orice locație
-
Poate fi echipat cu un număr mare de accesorii care permit atașarea la diferite aplicații
-
Livrat sub forma de kituri standard convenabile, gata de folosit cu lungimi de șufe la multiplu de metru de până la 10m
-
Folosește șufe cu grosimea de 1,5mm pentru a face suspendările cât se poate de discrete
| Dimensiuni | A | B | C |
| Mărime (mm) | 16 | 21,5 | 11 |
FIXARE

Y - FIT

-
Prevăzut cu 2 puncte de fixare pentru o stabilitate sporită
-
Lungimi standard ale brațelor egale cu 150mm, 300mm și 500mm
-
Brațele sunt disponibile cu diferite formate de terminații precum basculă, cârlig, etc.
| Dimensiuni | A | B | C | D |
| Mărime (mm) | 16 | 28,5 | Ø 11,5 | 150, 300 sau 500 |
CÂRLIG

-
Ideal pentru aplicații de iluminat, signalistică, utilizare împreună cu șuruburi ochi și ancore din sârmă
-
Prevăzut cu clemă pentru siguranță sporită
-
Cârlig lateral cu deschidere 4,5mm
-
Ieșire laterală a șufei
| Dimensiuni | A | B | C | D |
| Mărime (mm) | 16 | 47,5 | 16 | 4,5 |
IEȘIRE LATERALĂ - FILET INTERIOR

-
Prevăzut cu filet interior tip femelă, ideal pentru atașarea directă a aplicațiilor de iluminat, a ramelor și a panourilor acustice
-
Ieșirea laterală a șufei
-
Disponibil în format M4, M6 și 1/4” UNC
-
Adâncimea maximă a filetului egală cu 6mm
| Dimensiuni | A | B | C | D |
| Mărime (mm) | 16 | 35 | Ø 11,5 | Max 6mm |
PÂRGHIE

-
Prevăzut cu pârghie pentru suspendarea la unghiuri de până la 90°
-
Disponibil cu filet mascul sau femelă
-
Varianta cu filet mascul are lungimea filetului standard egală cu 15mm
-
Filet disponibil de mărimile: M4, M6, M8 și 1/4” UNC
-
Varianta cu filet femelă are adâncimea maximă a filetului egală cu 6mm
| Dimensiuni | A | B | C | D |
| Mărime (mm) | 16 | 47 | Ø 11,5 | Max 6mm |
| E |
| M4, M6, M8, 1/4” UNC |
IEȘIRE LATERALĂ - FILET EXTERIOR

-
Prevăzut cu filet exterior tip mascul, ideal pentru atașarea directă a aplicațiilor de iluminat, a ramelor și a panourilor acustice
-
Ieșirea laterală a șufei
-
Filet standard disponibil de mărimile: M4, M6, și 1/4” UNCAdaptor disponibil de mărimile: M5, M8, M10 și M13
-
Lungimea filetului standard egală cu 15mm (M6), se poate furniza și cu filet de diferite lungimi la comandă.
| Dimensiuni | A | B | C | D |
| Mărime (mm) | 16 | 35 | Ø 11,5 | 15 |
| E |
| M4, M5, M6, M8, M10, M13, 1/4” UNC |
SIGNALISTICĂ

-
Ideal pentru semne și pancarte cu grosime de până la 5mm
-
Prevăzut cu șurub pentru montare directă
-
Ieșirea laterală a șufei
-
Disponibil cu o gamă largă de terminații
| Dimensiuni | A | B | C | D | E |
| Mărime (mm) | 16 | 37 | Ø 11,5 | 11 | 5 |
IEȘIRE CENTRALĂ

-
Ideal pentru semne și pancarte cu grosime de până la 5mm
-
Prevăzut cu șurub pentru montare directă
-
Ieșirea laterală a șufei
-
Disponibil cu o gamă largă de terminații
| Dimensiuni | A | B | C | D |
| Mărime (mm) | 16 | 35 | Ø 11,5 | 15 |
| E |
| M6, 1/4” UNC |
IEȘIRE CENTRALĂ - ȘINĂ SIGNALISTICĂ

-
Ideal pentru suspendarea semnelor sau a panourilor (cu șină sau cu șurub)
-
Prevăzut cu 2 găuri pentru montare directă
-
Ieșirea centrală a șufei
| Dimensiuni | A | B | C | D |
| Mărime (mm) | 16 | 35 | 50 | 35 |
| E | F |
| 15 | Ø 5 |
DISC

-
Ideal pentru suspendarea șirurilor de iluminat și al altor aplicații liniare
-
Ieșirea laterală a șufei
-
Disponibile cu diferite formate de terminații precum basculă, filet, etc.
| Dimensiuni | A | B | C | D |
| Mărime (mm) | 16 | 37 | Ø 17,5 | 2 |
KNOCK OUT

-
Ideal pentru suspendarea corpurilor de iluminat prevăzute cu găuri standard pre-tăiate de 22mm (7/8”)
-
Se introduce în gaura pre-tăiată și se blochează prin rotire
-
Nu necesită unelte
-
Disponibil cu o gamă variată de terminații
-
Nu necesită acces intern la corpul de iluminat
| Dimensiuni | A | B | C | D | E |
| Mărime (mm) | 16 | 35 | Ø 22 | 12 | 25 |
PRINDERE ÎN 4 PUNCTE

-
Prevăzut cu 4 puncte de fixare
-
Brațe ajustabile pentru o stabilitate sporită
-
Lungimi standard ale brațelor egale cu 150mm, 300mm și 500mm
-
Brațele sunt disponibile cu diferite formate de terminații precum basculă, cârlig, etc.
| Dimensiuni | A | B | C | D |
| Mărime (mm) | 16 | 40 | Ø 16 | 4 |
FIXARE

Y - FIT AJUSTABIL

-
Brațe ajustabile pentru o stabilitate sporită
-
Reglare simplă, permite ajustarea cotei de montaj cu o singură mână
-
Brațele sunt disponibile cu diferite formate de terminații precum basculă, cârlig, etc.
| Dimensiuni | A | B | C | D |
| Mărime (mm) | 16 | 46,5 | Ø 11,5 | 3 |
FIXARE
